Nimonik 允许您在法规清单中监控您义务相关文件。要创建新的法规清单并开始跟踪文件,只需按照以下步骤操作。
创建一份新的法规清单
您可以通过在帐户级别的清单索引页面上单击“添加法规清单”来创建新的注册,

或针对特定公司。

这将带您进入清单创建页面。为您的法规清单输入一个标题,然后选择您想要关联的公司。

新文件设置
在清单创建页面上,您将看到许多与之相关的选项
- 管辖区域
- 行业领域
- 文件类型
- 文件状态
- 主题

这些将决定 Nimonik 自动添加到您的法规清单中的新文件。 如果您不想接收新文件,请将页面底部的“自动添加新文件到法规清单”选项设置为“否”。这些将决定 Nimonik 会自动将哪些新文件添加到您的法规清单中。如果您不想接收新文件,请将页面底部的“自动将新文件添加到法规清单”选项设置为“否”。请注意,无论新文件、行业、主题和文件状态的清单设置如何,您清单中现有文件的新版本(已废除文件的替代版本、标准的新版本、一般新版本)都将始终被添加。

完成设置法规清单
当您选择新文件设置后,您可以完成新法规清单的设置
- 清单级别责任方 – 此人或团队将被分配默认添加到清单中的所有文件
- 文件排序顺序 – 选择文档是按原始顺序(它们出现在库页面上的顺序)还是按字母顺序排序
- 授权访问用户或团队 – 使用“访问权限”字段以授予用户和团队访问权限

完成后,单击添加文件继续下一步
将文件添加至您的法规清单
如果您不知道应该将哪些文件添加到您的清单中,Nimonik 很乐意为您提供帮助。 联系您的客户经理,或联系 support@nimonik.com 了解更多信息。
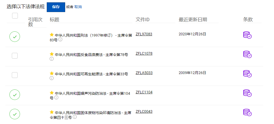
添加文件页面允许您选择要添加到新清单中的文件。 您可以使用页面顶部的过滤器和搜索栏来缩小文件列表的范围。

使用页面左侧的复选框选择您要添加的文件。

选择后,单击“保存”将文件添加到您的清单中。

添加自定义列
在帐户级别创建和管理自定义列。 有关设置自定义列的更多信息,请单击此处。
如果您想将自定义列添加到新清单中,请单击“管理自定义列”。

在结果页面上,使用复选框选择您想要包含的自定义列。

选择后,单击保存将自定义列添加到您的法规清单中。
这篇文章有帮助吗?
很好!
感谢您的反馈。
抱歉我们没能带来帮助
感谢您的反馈。
反馈已发送
感谢,我们将试着改善此文档。